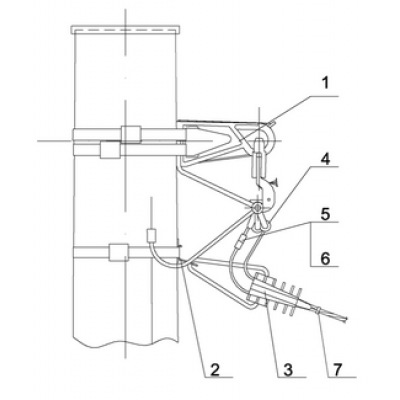
Установка предохранителей IEK

  • Сортировка: По умолчанию
  • Сортировка: Название (А - Я)
  • Сортировка: Название (Я - А)
  • Сортировка: Цена (низкая > высокая)
  • Сортировка: Цена (высокая > низкая)
  • Сортировка: Рейтинг (начиная с высокого)
  • Сортировка: Рейтинг (начиная с низкого)
  • Сортировка: Код Товара (А - Я)
  • Сортировка: Код Товара (Я - А)
  • Каталог IEK Установка предохранителей сертифицирован для продажи в России - фото, технические характеристики, условия доставки по Москве и по России.
  • Для того, чтобы купить Установка предохранителей в магазине russia-ie.com, достаточно заполнить форму онлайн заказа или позвонить по телефону: +7 495 185-56-15